0 引言
飛機產品有上百萬個零部件,這些零部件在設計、制造和使用過程中更改頻繁,造成飛機產品的數據管理極其復雜。設計與制造中飛機的構型數據變更對型號、設計方案、工藝和加工有重大影響,在使用過程中主要是結構與版本的變化。飛機在服役的30年內,其零部件更替十分頻繁,每隔一段時間會產生一個新的飛機結構版本,將其反饋給設計所來管理飛機歷史版本,可以輔助改進設計、研制新型號,提高飛機的實用性和可靠性,但也因此影響了飛機整體結構的變化。本文采用簡化構型(configuration)的管理方法,用表示飛機結構、基本信息、使用壽命和變更歷史的單機構型管理飛機使用過程的構型,同時結合構型追溯對飛機構型進行有效性管理,從而及時跟蹤和控制使用過程中的飛機構型更改,使構型變化時刻處于受控狀態。
1 構型管理簡介
構型是構型項在其研制過程中正式規定的、在產品使用過程中體現客戶要求的功能特性和物理特性的完整表示。簡言之,是反映客戶對產品各種需求的產品結構表示。構型管理也稱配置管理或技術狀態管理,不同領域采用不同的名稱,配置管理一般應用在普通的民用產品領域,如汽車、計算機、軟件等領域;技術狀態管理和構型管理一般應用于航天和航空領域。其中:技術狀態管理是我國在軍備方面一直采用的概念;構型管理則是當前飛機制造領域普遍采用的概念,其在管理的范圍、功能和內涵上均有擴展。
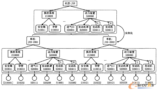
飛機構型分為機型構型和單機構型,機型構型定義了飛機型號系列的產品配置,單機構型是每架飛機的實際物理組成。在生產階段,生產廠家按機型構型的配置要求生產飛機,在總裝階段明確每架飛機的具體安裝件,初始化單機構型。單機構型是機型構型的實例,單機構型之間的差異通過構型配置的有效性來區分,如圖1所示。

圖1 機型構型與單機構型的關系
飛機在服役階段需要執行一系列維修保障業務,如大修、定期維修、排故維修和技術更改等,這些業務導致飛機單機構型發生更改,改變了飛機與機件的有效配置關系。因此,使用過程中的單機構型管理極為必要。
飛機使用過程中的構型管理是一種面向產品全生命周期,以產品結構為組織方式,將各階段產品數據關聯起來并對其進行管理和控制,進而保證產品數據一致性、有效性和可追溯性的管理技術。因此,構型管理的關鍵在于對更改的跟蹤和控制,并將構型管理、業務變更、時間管理等各方面組成一個有機結合的統一整體;換言之,構型管理的實質是及時跟蹤和控制更改,使構型項的變化時刻處于受控狀態。在使用過程中,飛機構型受到一系列維修保障任務影響,例如:由定期檢修、排故而進行的換件,來自制造廠商的技術更改而執行的硬件更改和軟件升級,飛機和裝機件使用壽命到達翻修期限而進行的翻修,以及地面測試或備件不足而引起的串件,使得飛機構型處于不斷變化中,飛機構型更改流程圖如圖2所示。

圖2 構型更改流程圖
構型管理的基本要素是構型項,它可以是一個或多個單元的硬件、軟件或集合體;在簡化構型管理體系中,構型項由選型項(selection)、可選項(option)和模塊(module)組成,它們將直接反映客戶定制產品的構型。與傳統研制過程中的構型管理不同,飛機使用過程中構型管理關注的是對構型項的有效性的管理,具體體現為對構型項的安裝時間、拆卸時間與相關業務的管理。單機構型管理的構型項包括單機、系統、部件、機件及其與維護相關的標準工卡/工卡組,其中機件在飛機使用過程中的更換最頻繁、數據量最大,其管理難度也最大。以機件為主要對象不但簡化了單機構型管理的難度,而且對部件備件庫管理、維修資源配置也具有重大意義。
2 單機構型管理
飛機結構在不同應用需求下提供不同的視圖(如圖3),如研發設計視圖、生產裝配視圖、使用維護視圖等。本文主要關注飛機的使用維護結構,即使用維護階段的裝配飛機組成結構。與其他飛機構型相比,使用過程中的單機構型涵蓋了飛機從設計到制造的基礎數據以及從服役開始到報廢整個階段的使用數據,是飛機及其結構的全壽命周期數據管理,包括各構型項的安裝、拆卸、串換件歷史信息等。飛機全壽命周期在時間上以飛機出廠時的構型為起點,起到飛機報廢為止。

圖3 不同階段的飛機結構視圖
單機構型的核心問題是構型項的建立與維護,通常將構型項和模塊以及模塊以上的產品縱使對應,模塊以下的產品零部件組織將不再定義模型項,從而簡化單機構型的管理。本文對單機構型的有效性管理通過版本有效性和時間有效性同時定義。版本有效性通過對產品版本的跟蹤和控制,來區別和記錄產品在發展過程中的變更歷史,定義的規則是最新版本有效,版本有效性主要應用于機載軟件的更新歷史管理。時間有效性是通過每次變更開始時間和結束時間的管理,來準確記錄產品演變過程、保證歷史可追溯,其規則是當前時間有效,可應用于構型項的變更歷史管理。
單機構型的不斷變化特性使信息存儲存在一定難度,若以完整構型的形式存儲信息,則不但會因數據量以倍數量級增長面難以管理,而且從整架飛機到下層的每一個零部件管理方式大大增加了單機構型的深度,即增加了構型控制的復雜度和難度,由此增大了后續環節的失誤。同時,在飛機使用過程中,頻繁拆裝變更的是飛機的裝機件,構型上的系統和部件較少發生變更。基于以上原因,本文以逐層調用的方式實現單機的構型管理,飛機數據的存儲采用遞歸方式。飛機的機件數量和規模巨大,以美國波音747大型客機為例,該機型每架飛機的零件數量多達600萬件(包括標準件)。本文所實現的系統將裝機件以拆裝記錄的方式單獨存儲,從拆裝記錄與部件節點的對應關系獲取,以減少單機構型記錄表的數據量,同時將機件的變更歷史與構型的結構樹分享,使管理對句更加清晰明確。本文所實現的系統的數據庫設計如圖4所示。

圖4 單機構型數據庫設計
圖4中,單機構型記錄表以父節點、當前節點的關系實現自身的遞歸循環,用有效時間起、有效時間止完成構型節點有效性的判定。圖中加粗方框標注的是單機構型和拆裝記錄數據表,該表以極其簡單的數據結構存儲了完整的單機構型各個構型項的基本信息和結構關系;雙線方框標注的是飛機和機件數據表,該表記錄了單機構型基本組成元素的詳細信息;其余數據表記錄了其他必要的構型項詳細信息。至此構成了單機構型數據拆分存儲以及頻繁變更的裝機件的拆裝歷史記錄管理。應用本文方法實現的系統已在某飛機設計研究所進行實踐,結果表明,這種數據存儲和管理方式能夠縮減數據表數量和視圖數量,同時將該所原有的基礎數據管理系統、外場數據管理系統、維修維護管理系統和備件管理系統的數據庫導人本系統進行測試,能夠滿足數據的唯一性、一致性、完整性和可追溯性。
3 單機構型追溯
單機構型的管理已相當復雜,為保證飛機產品數據的完整性和前后一致性,并可反饋給飛機設計單位,作為改進飛機設計性能或飛機改型的重要依據,本文提供了構型的追溯方法,即將使用過程中飛機的全部信息都建立在單機構型中,通過后臺代碼邏輯使系統用時問有效性來判定安裝記錄中的某一裝機件是否為某一時刻飛機的構型項,從而達到構型追溯的目的。
單機構型追溯建立在一種良好的構型管理方法基礎上,難點在于獲取飛機上所有在追溯時間點有效的構型項信息,前提條件為追溯的單機以及追溯的歷史時間點。圖5所示為單機構型追溯的設計流程圖。

圖5 單機構型追溯流程圖
如圖5所示,首先判定前提條件是否滿足,即是否存在要追溯的單機,若存在則追溯開始;否則不存在該單機的構型信息,流程結束。另一前提條件是追溯的歷史時間點,在具體查詢單機構型數據表中的記錄時,配合有效時間起、止才能追溯到當時的單機構型項。下面圖解說明應用歷史時間點追溯單機構型項的方法。
以圖1中飛機JXX一2001的發動機31XO02和進氣口320111機件為例說明。首先,發動機31XO02和進氣口320111安裝在飛機JXX一2001上,正常服役一段時間后,在t1時刻發生故障,拆卸發動機進行原件拆修;經過一段時間達到可用狀態后,在t2時刻重新安裝回飛機JXX-20Ol;t3時刻與飛機JXX一2002的進氣口進行串件試驗;t4時刻發動機31X002出現異常,但由于任務緊急,需要與飛機JXX-2002上的發動機31XO22串件以保證完成任務;t5時刻串件試驗結束,進氣口串件恢復;t6時刻對進氣口320111進行拆卸檢修;t7時刻發動機串件恢復,安裝到飛機JXX一2001上;t8時刻進氣口320111檢修完畢,安裝到飛機JXX一2001;t9時刻飛機進行大修,拆卸發動機和進氣口。
同理,將機件拆裝記錄數據表中的所有數據按照時間和事件描述的內容,在時間軸上依次排列(起點是單機構型創建的有效時間起),此處的數據必須是安裝飛機為JXX-2001的記錄。假設單機構型的追溯歷史時間點為T時刻(如圖6中的豎線),所截取的時間軸上的機件構型項為進氣口320121和發動機31X002,其他構型項的獲取方法類似,則可獲得JXX一2001飛機在歷史時間點T 時刻的所有構型項。
單機構型中,飛機結構的層級關系通過父子節點體現,且父節點與子節點是一對多的關系,即一個機件不能同時安裝在兩個(或以上)位置上,而一個系統下可以有多個部件位置嘲。通過對單機構型數據表的遞歸調用,可以展開單機構型結構樹,追溯到歷史時間點的完整構型。實踐證明,通過上述方法追溯到的單機構型結構樹,與部隊飛機履歷副本上數據還原得出的單機構型一致,信息系統的優勢在于,將功能集成于便于操作的按鈕中,可大大減輕人員的計算時間和出錯率,具有可推廣性。
單機構型中,飛機結構的層級關系通過父子節點體現,且父節點與子節點是一對多的關系,即一個機件不能同時安裝在兩個(或以上)位置上,而一個系統下可以有多個部件位置。通過對單機構型數據表的遞歸調用,可以展開單機構型結構樹,追溯到歷史時間點的完整構型。實踐證明,通過上述方法追溯到的單機構型結構樹,與部隊飛機履歷副本上數據還原得出的單機構型一致,信息系統的優勢在于,將功能集成于便于操作的按鈕中,可大大減輕人員的計算時間和出錯率,具有可推廣性。

圖6 裝機件追溯法圖示
4 結束語
本文在簡化管理的基礎上,對使用過程中的單機構型采用分層遞歸的方式進行存儲管理。同時針對使用過程中飛機各項業務影響的構型變更,提出以時間為主線、在某一追溯時間點查詢飛機構型項的方法,從而獲得追溯當時的飛機構型項的集合,再按照構型樹中的父子節點關系,還原出追溯當時完整的單機構型。這種管理和追溯方法使單機構型變化時刻處于受控狀態,為設計維護單位提供了決策參考。
核心關注:拓步ERP系統平臺是覆蓋了眾多的業務領域、行業應用,蘊涵了豐富的ERP管理思想,集成了ERP軟件業務管理理念,功能涉及供應鏈、成本、制造、CRM、HR等眾多業務領域的管理,全面涵蓋了企業關注ERP管理系統的核心領域,是眾多中小企業信息化建設首選的ERP管理軟件信賴品牌。
轉載請注明出處:拓步ERP資訊網http://www.sdyuan.com/
本文標題:飛機使用壽命周期構型管理和追溯























