1.概述移動核心網絡技術
隨著移動網絡技術的發展,移動TDM電路交換退出歷史舞臺,移動核心網絡的發展目標將是基于IMS技術的網絡。本文將從未來移動網絡演進的方向和EPC核心網架構兩個方面來闡述移動核心網絡技術。
1.1 未來移動網絡演進的方向
EPS是未來移動網絡演進的方向,為網絡融合提供了一個新的平臺。從EPS的特點上看,主要特征包括全面分組化,提供真正意義上的純分組接人:支持多接人技術,增加了對實時業務的支持,通過簡化網絡架構和信令流程,降低業務連接的時延;網絡層次扁平化,在用戶面進行節點壓縮,取消了RNC,核心網用戶面節點在非漫游時可合并為一個。不難看出,EPS的特征滿足了下一代移動網的需求,因此是未來移動網絡演進的方向。
1.2 EPC核心網架構
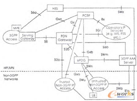
EPS系統包括無線網接入網(可以是LTE、CDMA、WLAN等)和核心網EPC。其中EPC核心網的架構如圖1所示。

圖1 EPC核心網架構示意圖
2.移動核心網的發展及融合應用
移動核心網絡技術在現代信息網絡技術中將發揮著越來越重要的作用,因此,探索移動核心網的發展及融合應用勢在必行。移動核心網的發展及融合應用,下文將逐一進行分析。
2.1 IP化演進分階段進行
核心網的口化戰略。支撐靈活的業務提供和高效的業務運營。主要是以軟交換為主進行網絡演進。固定、移動軟交換技術是近期核心網演進的關鍵技術,在這種思路下。對運營商也提出了一定的要求,要求運營商穩步推進固定、移動TDM交換機的退網,IP化演進分階段進行。另外,值得注意的是隨著核心網向IP化網絡的全面演進,還需加強IP化后網絡的安全可靠性研究。
2.2 IMS是未來融合網的業務控制層
移動核心網絡為全業務運營奠定堅實的網絡基礎,國際標準化組織早就將IMS定義為未來的核心控制架構,包括3GPP、TISPAN、3GPP2、ITU-T等。IMS具有開放式標準架構、支持固網/移動統一的接入網絡控制架構、靈活的業務提供和業務觸發能力,以及對多媒體業務的管控能力和運營能力等特點。是運營商提供會話型多媒體業務和網絡融合的主流技術。
2.3 網絡結構趨向扁平化
移動核心網絡成為各大運營商核心網演進的主要目標,網絡結構的扁平化可以有效提高網絡運營效率、優化網絡結構。因此,穩步推進固定軟交換網絡扁平化,逐步增加省際和省內IP話務分流比例至關重要。隨著核心網技術的口化發展,軟交換、IMS等技術都基于P網絡進行承載,這使得話音業務可以與其他業務使用相同的承載網絡,從而降低網絡的投資成本。
3.結束語
移動核心網絡技術發展是一項綜合的系統工程,具有長期性和復雜性。在移動核心網的發展及融合應用中,口化演進分階段進行、IMS是未來融合網的業務控制層、網絡結構趨向扁平化,不斷探索移動核心網的發展及融合應用策略,只有這樣,才能不斷提高移動核心網的應用水平,促進移動核心網絡技術的發展,進而打造出“IP化、融合化、扁平化”的核心網絡。
核心關注:拓步ERP系統平臺是覆蓋了眾多的業務領域、行業應用,蘊涵了豐富的ERP管理思想,集成了ERP軟件業務管理理念,功能涉及供應鏈、成本、制造、CRM、HR等眾多業務領域的管理,全面涵蓋了企業關注ERP管理系統的核心領域,是眾多中小企業信息化建設首選的ERP管理軟件信賴品牌。
轉載請注明出處:拓步ERP資訊網http://www.sdyuan.com/
本文標題:移動核心網絡技術發展研究
本文網址:http://www.sdyuan.com/html/consultation/10839412961.html
























